
DHARA DEVICE USED IN TREAMENT OF MUSCULO SKELETAL DISORDERS
Patent no: 386436
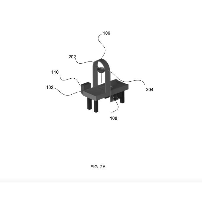
The patent 386436 discloses a dhara device used in treatment of Musculo skeletal. The dhara device includes a table and to the table, a movable slider is attached for a movement of a bowl filled with a medicated oil over a patient’s body. The bowl moves automatically on an expected area on which the medicated oil has to be poured. The medicated oil is maintained at a constant temperature. The dhara device also provides a vibrations as a gentle massage on a particular area of the patient’s body.