
FAN CLEANING DEVICE AND METHOD THEREOF
Patent no: 420771
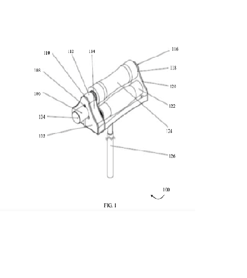
The patent 420771 discloses a fan cleaning device and method thereof. The fan cleaning device includes a body. The body includes a motor, a motor cover, a motor nut, a gear, a pinion, a body cover, a first roller cap, a second roller cap, a body end cover, a concave roller, a convex roller, and a handle. The roller caps rotates two or more rollers for cleaning one or more blades. The first roller cap is mounted on pinion for rotation and second roller cap provides support to concave and convex roller ends.